Разборка
1. Лезвием плоской отвертки снимите пылезащитный колпачок (А).
2. Вытрите смазочный материал с верхней части опоры стойки.
3. Специальным приспособлением (J38402, А-50) сожмите цилиндрическую пружину (А) стойки передней подвески так, чтобы почти полностью снять усилие пружины на стойку.

Примечание. При использовании специального приспособления для сжатия пружин следите, чтобы витки пружины надежно захватывались, и сжатие пружины производите с противоположных сторон. Чтобы исключить ослабление контргайки крепления поршня на штоке, не используйте пневматический ключ ударного действия.
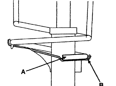
4. Закрепите стойку (А) в тисках с мягкими губками (В) и отверните самоконтрящуюся гайку (С) крепления верхней части штока амортизатора.
5. Снимите опору стойки, верхнюю опору пружины, цилиндрическую пружину, пылезащитный чехол и нижнюю опору пружины.

Предупреждение. При замене пружины плавно ослабьте приспособление для сжатия пружины. Разведите захваты приспособления настолько, чтобы новая пружина свободно установилась в приспособление в то же положение, в котором находилась снятая пружина. Сжимая приспособление, плавно сожмите новую пружину.
Сборка
1. Установите нижнюю опору пружины так, чтобы ее выступы вошли в отверстия тарелки пружины.
2. Установите на шток амортизатора резиновый буфер (В) и пылезащитный чехол (А).
Предупреждение. Вдавите шток амортизатора до совмещения двух канавок (А и В).

3. Специальным приспособлением (J38402, А-50) сожмите пружину стойки передней подвески. После полного сжатия пружины установите ее на амортизатор.
Примечание.
1. На цилиндрической пружине имеются две цветные идентификационные метки, определяющие нагрузочную способность пружины. Обратите внимание на расстояние между двумя метками, затем установите пружину.
- Левая сторона - Правая сторона
- БЕЛЫЙ - БЕЛЫЙ
- ЖЕЛТЫЙ - ЖЕЛТЫЙ
- КРАСНЫЙ - КРАСНЫЙ
2. Установите цилиндрическую пружину маркировкой, направленной к поворотному кулаку.
4. Полностью вытяните шток амортизатора и установите верхнюю опору пружины и опору стойки.
5. Правильно расположите верхний и нижний концы цилиндрической пружины (А), установив их в выемки (В), и наверните самоконтрящуюся гайку, но не затягивайте ее окончательно.

6. Снимите приспособление (J38402, А-50) для сжатия пружины.
7. Затяните самоконтрящуюся гайку требуемым моментом затяжки.
- Момент затяжки: 50-70 Нм
8. Смажьте верхний подшипник амортизаторной стойки и установите пылезащитный колпачок.
Предупреждение. Убедитесь, что смазочный материал не попал на резиновые детали опоры стойки.
Установка
1. При установке стойки передней подвески убедитесь, что предварительно очистили сопрягаемые поверхности от посторонних предметов.
2. Закрепите на стойке тормозной шланг и провод датчика частоты вращения колеса.
3. Затяните все резьбовые соединения требуемыми моментами.
Примечание. После установки амортизаторной стойки проверьте углы установки передних колес.
