Оглавление: Снятие ⇣ Установка ⇣

Снятие
1. Отсоедините провод от отрицательной клеммы аккумуляторной батареи.
2. Снимите декоративную накладку двери.

3. Снимите крышку внутренней ручки.
- Выверните один винт крепления кронштейна внутренней ручки открытия двери.
- Снимите крышку внутренней ручки.

4. Снимите отделку двери.

- Выверните один винт из кронштейна ручки.
- Снимите крышки и выверните два винта с левой стороны отделки двери.
- Выверните два винта с правой стороны отделки двери.
- Отделите отделку двери от двери.
- Отсоедините электрический разъем от переключателя стеклоподъемников.

5. Снимите внутреннюю ручку открытия двери.
- Отсоедините две тяги от замка двери.
- Выверните два винта крепления ручки двери.

6. Выверните два винта крепления кронштейна ручки.
7. Снимите пылевлагозащитную пленку, постепенно отделяя ее от рамы двери.
Примечание. Снимайте пылевлагозащитную пленку очень аккуратно для того, чтобы ее можно было повторно использовать.

8. Снимите наружную влагозащитную полосу и декоративную накладку двери.
- Выверните три винта крепления декоративной накладки двери.
- Отделите наружную влагозащитную полосу с внешней стороны двери.

9. Снимите стекло.
- Повторно подсоедините разъем к переключателю стеклоподъемника.
- Подсоедините провод к отрицательной клемме аккумуляторной батареи.
- Включите зажигание и переместите стекло в полуоткрытое положение.
- Выключите зажигание.
- Снимите направляющую стекла.
- Выверните два болта крепления стекла к стеклоподъемнику.
- Наклоняя и поднимая заднюю часть, снимите стекло с наружной стороны двери.
- Отсоедините провод от отрицательной клеммы аккумуляторной батареи.


10. Снимите стеклоподъемник.
- Отсоедините разъем от двигателя стеклоподъемника.
- Выверните семь гаек крепления стеклоподъемника к двери.
- Через отверстие во внутренней панели двери снимите стеклоподъемник.

11. Снимите замок двери.
- Отверните одну гайку от наружной ручки двери.
- Отсоедините разъем от модулятора замка двери.
- Выверните две гайки крепления модулятора замка двери.
- Выверните три винта и через отверстие во внутренней панели двери снимите замок двери.

12. Снимите внешнюю ручку двери.
- Выверните два болта крепления внешней ручки двери.

- Нажмите на ручку вниз (A) и поверните нижнюю часть ручки наружу и вверх (B).

13. Выверните два болта крепления направляющей стекла.
14. Снимите жгут проводов.
- Отсоедините разъемы жгута проводов от рамы двери.
- Извлеките жгут проводов через отверстие во внутренней панели двери.

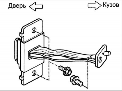
15. Выверните болт крепления ограничителя открытия двери к кузову.

16. Выверните болты крепления обоих шарниров и снимите дверь с автомобиля.
Установка
1. Установите дверь.
- Установите должным образом дверь на автомобиль
- Вверните болты крепления обоих шарниров.
Момент затяжки: 13–26 Н·м
2. Установите влагозащитное уплотнение двери.
3. Вверните болт крепления ограничителя открытия двери к кузову.
Момент затяжки: 17–22 Н·м
4. Установите жгут проводов.
- Вставьте жгут проводов через отверстие во внутренней панели двери.
- Закрепите разъемы жгута на раме двери

5. Установите направляющую стекла.
- Установите направляющую стекла через отверстие во внутренней панели двери.
- Закрепите направляющую стекла двумя болтами.

6. Установите наружную ручку двери.
- Установите наружную ручку двери через отверстие во внутренней панели двери в первоначальное положение.
- Вверните два болта крепления внешней ручки двери.
Момент затяжки: 7–11 Н·м

7. Установите замок двери.
- Установите замок двери через отверстие во внутренней панели двери.
- Закрепите замок двери тремя винтами. Момент затяжки: 8–11 Н·м
- Подсоедините разъем к модулятору замка двери
- Вверните две монтажных гайки крепления модулятора замка двери.
- Подсоедините тягу к наружной ручке двери.

8. Установите стеклоподъемник.
- Установите стеклоподъемник через отверстие во внутренней панели двери.
- Закрепите стеклоподъемник семью гайками.
- Подсоедините к двигателю стеклоподъемника электрический разъем.

11. Установите стекло.

- Вставьте снаружи двери сначала переднюю часть стекла, затем, поворачивая и опуская, установите стекло в дверь и расположите его на кронштейне стеклоподъемника. Вверните, но не затягивайте окончательно, два болта крепления стекла.
- Повторно подсоедините переключатель управления стеклоподъемником.
- Подсоедините провод к отрицательной клемме аккумуляторной батареи.
- Включите зажигание и переместите стекло вверх и вниз, чтобы активизировать функцию управления стеклоподъемником.
- При необходимости, отрегулируйте положение стекла.
- Выключите зажигание.
- Отсоедините переключатель управления стеклоподъемником.
- Отсоедините провод от отрицательной клеммы аккумуляторной батареи.
- Затяните два болта крепления стекла к стеклоподъемнику.
Момент затяжки: 8–12 Н·м
10. Установите направляющий уплотнитель стекла. Для облегчения установки используйте мыльную воду.

11. Установите наружную влагозащитную полосу и декоративную накладку двери.
- Закрепите наружную влагозащитную полосу с внешней стороны двери.
- Вверните три винта крепления декоративной накладки двери.
12. Установите на дверь пылевлагозащитную пленку.
- Закрепите пылевлагозащитную пленку на двери.
- Выведите электрический разъем жгута проводов двери.
- Выведите тягу внутренней ручки открытия замка двери из пылевлагозащитной пленки.

13. Установите кронштейн ручки и закрепите его двумя винтами.

14. Установите внутреннюю ручку двери.
- Закрепите ручку двумя винтами.
- Подсоедините к ручке две тяги замка двери.

15. Установите отделку двери.
- Подсоедините электрический разъем.
- Установите на место отделку двери.
- Установите крышку с левой стороны отделки двери и закрепите ее двумя винтами.
- Вверните один винт крепления правой стороны отделки двери.

16. Вверните один винт крепления кронштейна ручки.
17. Установите крышку внутренней ручки двери.
- Установите крышку внутренней ручки двери.
- Одним винтом закрепите крышку внутренней ручки двери.
18. Установите декоративную накладку двери.
19. Подсоедините провод к отрицательной клемме аккумуляторной батареи.
