Стартер
1 – передняя крышка; 2 – рычаг; 3 – ротор; 4 – тяговое реле; 5 – статор с катушками; 6 – щеткодержатель со щетками; 7 – задняя крышка; 8 – обгонная муфта.
Разборка
1. Выверните гайку с клеммы М.

2. Снимите провод статора с клеммы М.
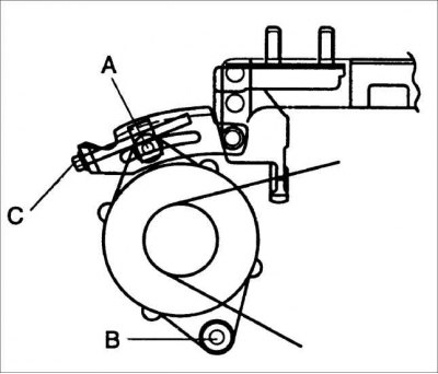
Внимание! При наличии прокладок между тяговым реле и корпусом стартера, соберите и отложите их в сторону.

3. Выверните два винта и снимите тяговое реле.

4. Снимите пружину плунжера тягового реле.

5. Отсоедините плунжер от рычага и снимите плунжер.

6. Выверните шпильки крепления задней крышки. Снимите переднюю крышку с двигателя стартера. При наличии снимите с двигателя планетарную передачу.

7. Снимите рычаг.

8. Трубчатой оправкой сбейте фиксатор стопорного кольца.
9. Снимите стопорное кольцо.

10. Снимите фиксатор стопорного кольца и обгонную муфту.
11. Выверните два винта и снимите заднюю крышку со щеткодержателем.
12. Извлеките ротор из статора.

13. Снимите шайбы с вала ротора.
Сборка
1. Установите ранее снятые шайбы на вал ротора.
2. Установите ротор в корпус статора.

3. Установите щеткодержатель в заднюю крышку и закрепите винтами.
Момент затяжки: 2,4–4,4 Н·м
4. Установите обгонную муфту и фиксатор стопорного кольца на вал ротора.

5. Установите стопорное кольцо в канавку вала ротора.

6. Установите фиксатор стопорного кольца на стопорное кольцо.

7. Установите рычаг.
8. При наличии установите планетарную передачу.
9. Установите переднюю крышку.

10. Со стороны задней крышки установите и вверните шпильки.
Момент затяжки: 3,8–7,1 Н·м

11. Вставьте плунжер в рычаг.

12. Вставьте пружину тягового реле.
13. Установите тяговое реле и закрепите винтами.
Момент затяжки: 4,1–7,6 Н·м
14. Подайте напряжение аккумуляторной батареи к клемме S и корпусу тягового реле и проверьте, что плунжер выдвигается наружу и останавливается.

15. Измерьте зазор между фиксатором стопорного кольца и фланцем передней крышки.
Зазор: 2,0 мм
Внимание! Не подавайте напряжение аккумуляторной батареи на тяговое реле в течение более 10 с.

16. Если зазор отличается от требуемого, отрегулируйте его, увеличивая или уменьшая число прокладок между тяговым реле и передней крышкой.
17. Подсоедините провод катушки статора к клемме М тягового реле.
