Оглавление: Проверка сопротивления ⇣ Проверка напряжения ⇣
Проверка сопротивления
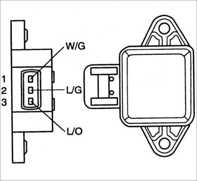
1. Отсоедините разъем от датчика положения дроссельной заслонки.

2. Подсоедините омметр между контактами 1 и 2 разъема.

3. Проверьте, что сопротивление датчика увеличивается пропорционально углу поворота дроссельной заслонки.
Сопротивление: 1,6–2,4 кОм при закрытой дроссельной заслонке
4. Если сопротивление датчика отличается от требуемых значений, замените его.
5. Подсоедините к датчику разъем.
Проверка напряжения
1. Проверьте, что дроссельная заслонка полностью закрыта.
2. Включите зажигание, не пуская двигатель.
3. Подсоедините вольтметр к контактам 2 (провод L/ G – светлый/ зеленый) и 1 (провод W/ G – белый/ зеленый) разъема датчика положения дроссельной заслонки. Вольтметр должен показывать напряжение 5 В.
4. Подсоедините вольтметр к контактам 3 (провод L/ O – светлый/ оранжевый) и 1 (провод W/ G – белый/ зеленый) разъема датчика положения дроссельной заслонки.

5. Измерьте напряжение при полностью открытом и полностью закрытом положении дроссельной заслонки.
- Напряжение при полностью закрытой дроссельной заслонке: 0,2–0,8 В
- Напряжение при полностью открытой дроссельной заслонке: 4,0–4,8 В
6. Если напряжение отличается от требуемых значений, замените датчик положения дроссельной заслонки.
