Оглавление: Трос привода сцепления ⇣ Педаль сцепления ⇣
Трос привода сцепления
1 – подшипник выключения сцепления; 2 – трос привода сцепления; 3 – отжимной рычаг; 4 – вилка выключения сцепления; 5 – педаль сцепления; 6 – диск сцепления; 7 – картер сцепления.
Основные элементы сцепления
1 – картер сцепления; 2 – подшипник выключения сцепления; 3 – маховик; 4 – диск сцепления; 5 – вилка выключения сцепления; 6 – первичный вал коробки передач; 7 – нажимной диск; 8 – отжимной рычаг; 9 – пружины гасителя крутильных колебаний.
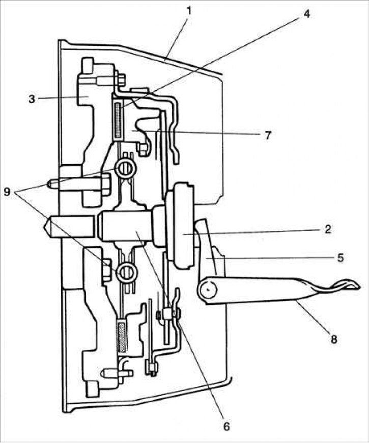
Педаль сцепления
1 – шарнирный болт; 2 – маховик; 3 – возвратная пружина; 4 – диск сцепления; 5 – гайки; 6 – втулки; 7 – кожух сцепления; 8 – подшипник выключения сцепления; 9 – зажим; 10 – педаль тормоза; 11 – возвратная пружина; 12 – втулки; 13 – отжимной рычаг; 14 – педаль сцепления; 15 – трос сцепления; 16 – болт; 17 – вилка выключения сцепления.
Сцепление расположено между двигателем и коробкой передач и предназначено для разъединения и соединения маховика, расположенного на коленчатом валу двигателя и первичного вала коробки передач.
Сцепление состоит из ведомого (фрикционного) диска, кожуха сцепления с нажимным диском и диафрагменной пружиной и механизма выключения сцепления. Фрикционный диск состоит из двух кольцевых фрикционных накладок, которые укреплены на ступице через демпферные пружины.
Диафрагменный пружинный механизм создает усилие, которое объединяет работу маховика, нажимного и ведомого дисков для обеспечения совместного вращения, в этом случае сцепление включается и передает крутящий момент от двигателя к коробке передач.
Управление сцеплением осуществляется педалью сцепления, установленной на одном кронштейне с педалью тормоза. Верхняя часть педали сцепления соединена тросом с отжимным рычагом на картере сцепления.
Сцепление работает следующим образом:
- –- при нажатии на педаль сцепления перемещается трос сцепления и поворачивает вал отжимного рычага, соединенный с вилкой выключения сцепления;
- вилка выключения сцепления перемещает подшипник выключения сцепления, который нажимает на центр диафрагменной пружины, таким образом, освобождая усилие включения по периметру пружины и перемещает нажимной диск назад. При этом освобождается ведомый диск, после чего вал двигателя и вал коробки передач могут вращаться независимо друг от друга;
- при отпускании педали сцепления под действием пружины все элементы привода сцепления возвращаются в исходное состояние и передается крутящий момент от двигателя к коробке передач.
С двух сторон ведомого диска закреплены фрикционные накладки. Ведущая часть диска соединяется со ступицей через детали гасителя крутильных колебаний, который обеспечивает упругую связь между ними. Гаситель колебаний уменьшает динамические нагрузки, вызывающие закручивание (раскручивание) валов трансмиссии, которые возникают при резком изменении скорости движения автомобиля, наезде на неровности дороги, резком включении сцепления, а также вследствие неравномерности крутящего момента двигателя. Упругие колебания деталей трансмиссии приводят к появлению шума в механизмах и агрегатах, а также к вибрациям, в результате чего возможно повреждение деталей в случае если амплитуда упругих колебаний достигнет значительных величин. Для поглощения энергии упругих крутильных колебаний служит гаситель.
Свободный ход педали сцепления регулируется в месте соединения троса сцепления с отжимным рычагом.
