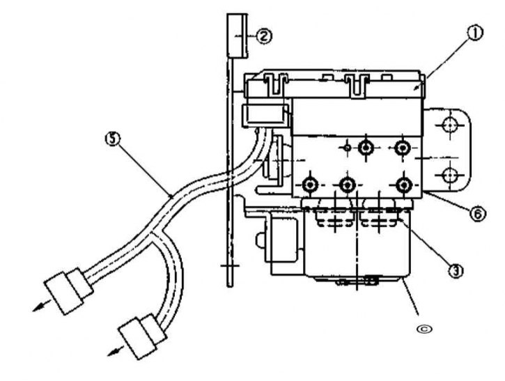
Детали установки электронного и гидравлического блоков управления ABS/EBD
1 - Электронный блок управления (ECU); 2 - Опорный кронштейн HECU; 3 - Крепежный штифт; 4 - Электромотор насоса; 5 - Электропроводка; 6 - Гидромодулятор (HCU)
1. Выключите зажигание.
2. Отсоедините электропроводку от электронного блока управления (ECU).
Внимание! Постарайтесь не допустить случайной подачи бортового питания (12 В) на любую из клемм ECU!
3. Тщательно протрите поверхность гидромодулятора (HCU), полностью удалив с нее следы грязи и смазки.
4. Предварительно промаркировав, отсоедините от HCU гидравлические линии.
5. Выверните болты крепления опорного кронштейна гидромодулятора к брызговику крыла в двигательном отсеке автомобиля.
6. Снимите гидромодулятор в сборе с опорным кронштейном и электронным блоком управления (ECU).

7. Извлеките крепежный штифт, демонтируйте посадочную втулку и снимите сборку HECU с опорного кронштейна.
8. Выверните крепежные болты и снимите со сборки HECU электронный блок управления (ECU).
9. Проверьте уплотнительный элементы ECU на наличие задиров и трещин, - в случае необходимости произведите замену.
10. Установка производится в обратном порядке, - проследите за правильностью подсоединения гидравлических линий (ориентируйтесь по нанесенным в процессе демонтажа, - идентификационным меткам), а также за соблюдением требований Спецификаций Главы Тормозная система к усилиям затягивания резьбового крепежа.
11. В заключение прокачайте гидравлический тракт тормозной системы (см. Раздел Прокачка тормозов) и произведите ходовые испытания автомобиля.
