Внимание! Не удерживайте рулевое колесо при работающем двигателе в крайних положениях в течение более 15 секунд!
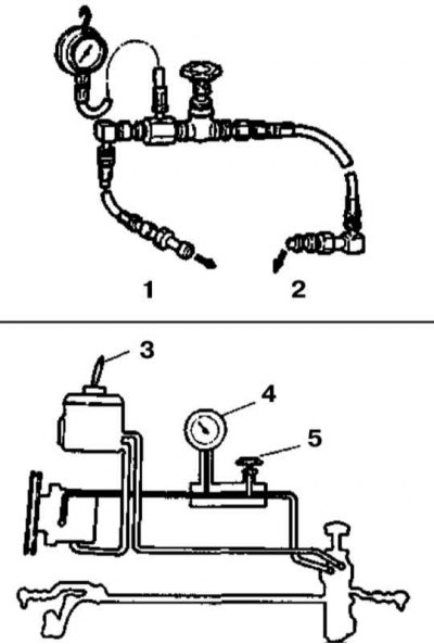
1. Отсоедините напорную линию гидравлического тракта от картера рулевого механизма и подключите к ней измерительный набор, - вентиль из набора должен подключаться на стороне рулевого механизма. Штуцерные соединения следует затягивать с усилием 31÷47 Нм.
1 - К насосу
2 - К рулевому механизму
3 - Термометр (50÷60°C)
4 - Манометр
5 - Запорный вентиль
2. Выполните процедуру «прокачки» гидравлического тракта (см. Раздел Удаление воздуха из рабочего тракта системы гидроусиления руля).
3. Полностью откройте вентиль подключенный к системе вентиль, затем запустите двигатель и несколько раз поверните рулевое колесо от упора до упора с целью прогрева гидравлической жидкости до нормальной рабочей температуры (50÷60°C).
4. Поднимите обороты двигателя до значения 1000÷1500 в минуту, закройте вентиль и считайте показание манометра, - требуемое значение составляет 6860±98 кПа (70±1 кГс/см²).
5. Закройте вентиль и при работающем с оборотами 1000÷1500 мин⁻¹ двигателе поверните рулевое колесо от упора до упора, - показание манометра должно остаться прежним.
Внимание! Во избежание перегрева гидравлической жидкости не удерживайте вентиль закрытым более чем в течение 15 секунд!
6. Заглушите двигатель, отсоедините манометр и вентиль и восстановите исходное подсоединение гидравлических линий, затянув штуцерные разъемы с требуемым усилием (31÷47 Нм).
7. В заключение «прокачайте» гидравлический тракт (см. Раздел Удаление воздуха из рабочего тракта системы гидроусиления руля).
