Внимание! Прежде чем приступать к выполнению процедуры, ознакомьтесь с приведенным в Разделе Подушки безопасности - общая информация и меры предосторожности перечнем мер безопасности!
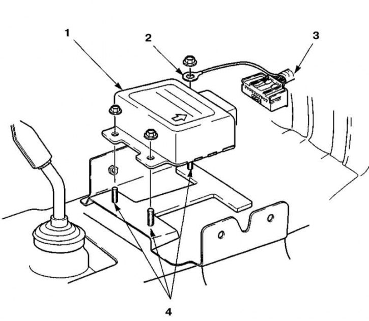
Детали установки ADU SRS
1 - ADU; 2 - Провод заземления; 3 - С299 (желтый); 4 - Крепежные шпильки
1. Отсоедините от батареи сначала отрицательный, затем положительный провода и выждите в течение не менее 10 минут.
2. Выверните крепежные винты, взведите рычаг стояночного тормоза и снимите заднюю секцию центральной консоли (см. Главу Кузов).
3. Снимите переднюю секцию центральной консоли (см. Главу Кузов), - рычаг селектора АТ следует перевести в крайнее заднее положение, а с рычага переключения режимов раздаточной коробки снять рукоятку и отсоединить электропроводку.
4. Отожмите стопорный язычок и рассоедините контактный разъем электропроводки с правой стороны блока ADU.
5. Отогните ковровое покрытие с передней стороны консоли, отпустите три крепежных гайки и снимите диагностический блок с нижнего переднего опорного кронштейна панели приборов.
6. Установка производится в обратном порядке, - крепежные гайки затягиваются с усилием 15÷18 Нм.
