Внимание! Бензин является в высшей степени огнеопасным, поэтому при работе с любыми компонентами топливной системы следует принимать особые меры предосторожности! Не курите, и не приближайтесь к месту проведения работ с открытым огнем или незащищенной абажуром переноской. Не производите такие работы в гаражах, оборудованных нагревательными приборами, работающими на природном газе (такими, как водогреи, сушилки и т.п.)! Рабочая площадка должна хорошо вентилироваться. При попадании бензина на кожу немедленно смывайте его водой с мылом. При проведении любых работ с топливной системой надевайте защитные очки и держите под рукой огнетушитель. В случае расплескивания бензина немедленно вытирайте лужу, но не держите пропитанную бензином ветошь в местах, где не исключен риск ее воспламенения!
Проверка системы
1. При появлении запаха топлива во время движения или после того, как автомобиль постоял на солнце, необходимо немедленно проверить состояние всей топливной системы.
2. Снимите крышку топливного бака и проверьте ее на наличие повреждений и признаков развития коррозии. Оцените состояние уплотнительного элемента крышки. Дефектные компоненты замените.
3. Обследуйте линии подачи и возврата топлива на наличие трещин и деформаций. Оцените надежность затягивания штуцерных соединений на топливной распределительной магистрали и встроенном топливном фильтре.
Внимание! Прежде чем приступать к обслуживанию компонентов топливного тракта не забудьте сбросить давление в системе питания (см. Главу Системы питания, управления двигателем/снижения токсичности отработавших газов и выпуска отработавших газов)!
4. Вывесив автомобиль, осмотрите топливный бак и его заливную горловину на наличие пробоин, трещин и прочих повреждений. Особое внимание следует уделить состоянию сочленения горловины с баком. Иногда утечки топлива возникают вследствие ослабления хомутов крепления горловины, либо по причине старения резины, из которой горловина изготовлена. Внимательно изучите состояние элементов крепления топливного бака, в случае необходимости произведите соответствующие исправления.
Внимание! Ни в коем случае не предпринимайте попыток самостоятельного выполнения ремонта топливного бака (исключая замену его резиновых компонентов), - помните, что контакт содержащихся в баке топливных испарений с открытым огнем газовой горелки неминуемо приводит к воспламенению!
5. Тщательно проверьте надежность затягивания всех штуцерных соединений топливных шлангов и металлических линий, идущих от бака. Удостоверьтесь в отсутствии деформаций и признаков старения материалов гибких шлангов. Замените дефектные компоненты.
Замена топливного фильтра
Бензиновые модели
1. Сбросьте давление в системе питания (см. Системы питания, управления двигателем/снижения токсичности отработавших газов и выпуска отработавших газов).
2. Отсоедините электропроводку от топливного насоса.

3. Отсоедините от топливного фильтра бензопроводы, выверните крепежные болты и снимите фильтр в сборе к опорным кронштейном.
4. Высвободите фильтр из кронштейна и установите на его место новый.
5. Дальнейшая установка производится в порядке, обратном порядку демонтажа компонентов, - проследите, чтобы крепеж был затянут с требуемым усилием.
Дизельные модели
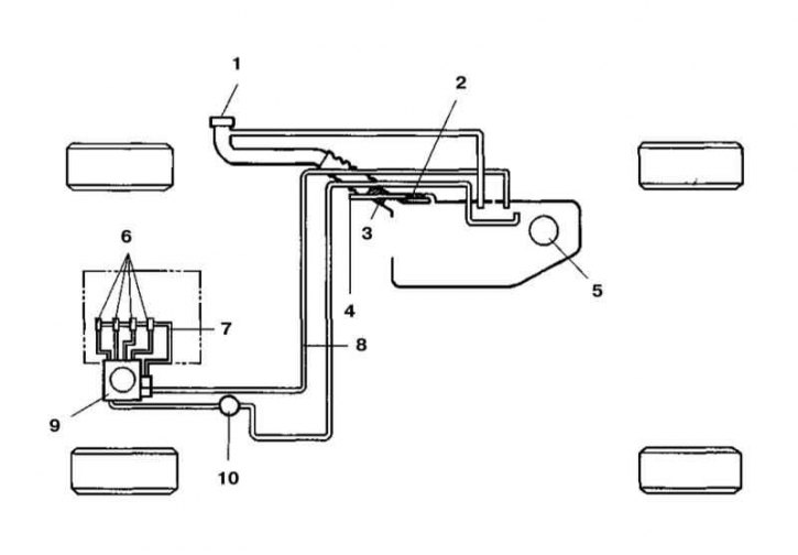
Местоположение топливного фильтра в тракте системы питания дизельного двигателя
1 — Крышка заливной горловины топливного бака; 2 —Двухходовой контрольный клапан; 3 — Невозвратный клапан; 4 — В атмосферу; 5 — Датчик запаса топлива; 6 — Форсунки; 7, 8 — Линия возврата топлива; 9 — ТНВД; 10 — Топливный фильтр.
Топливный фильтр включен в подающий топливопровод на участке между топливным баком и ТНВД.
Слив отстоя
1. Отпустите сливную пробку в нижней части рабочего элемента фильтра и спустите из фильтра весь отстой, - дождитесь начала вытекания чистого топлива.
2. Прочно затяните пробку и произведите удаление из фильтра воздуха.
Замена рабочего элемента

1. Отсоедините электропроводку от датчика-детектора отстоя.

2. При помощи подходящего ключа выверните рабочий элемент фильтра.

3. В случае необходимости снимите с фильтра датчик-детектор отстоя и проверьте исправность его функционирования при помощи омметра: проводимость между контактными клеммами разъема должна иметь место только в нижнем положении поплавка. Датчик может быть переставлен на сменный рабочий элемент.
4. Смочите топливом уплотнительное кольцо, вверните рабочий элемент фильтра в крышку и затяните его вручную.
5. Восстановите исходное подсоединение электропроводки и топливопроводов, - проследите за правильностью подсоединения шлангов.

6. Ослабьте вентиляционную пробку и, 7-8 раз (до начала выхода топлива) качнув вверх-вниз плунжер, наполните фильтр топливом, - внутри фильтра не должно оставаться воздушных пробок.
