Примечание. Данная процедура относится к числу тех, выполнение которых не требует снятия двигателя с автомобиля. Выполнение процедуры должно производиться на холодном двигателе.
Проверка
1. Снимите промежуточный охладитель системы наддува воздуха (Intercooler) (см. Системы питания, управления двигателем/снижения токсичности отработавших газов и выпуска отработавших газов).
2. Снимите крышку головки цилиндров.
3. Провернув коленчатый вал таким образом, чтобы кулачки привода впускного и выпускного клапанов на распределительном валу развернулись рабочими выступами вверх, приведите поршень первого цилиндра в положение ВМТ конца такта сжатия.
1 - Кулачок привода впускного клапана
2 - Кулачок привода выпускного клапана

4. При помощи щупа лезвийного типа измерьте величину клапанных зазоров, результат запишите.
5. Проворачивая коленчатый вал в нормальном направлении, повторите процедуру для оставшихся клапанов, переходя от цилиндра к цилиндру в порядке зажигания.
6. Сравните результаты измерений с требованиями Спецификаций Главы Двигатель, в случае необходимости произведите соответствующую регулировку.
Регулировка
1. Расположите распределительный вал таким образом, чтобы кулачок привода подлежащего регулировке впускного клапана оказался развернут рабочим выступом вертикально вверх.
2. С целью облегчения доступа к регулировочной шайбе, разверните толкатель клапана риской в сторону впускного трубопровода.
3. При помощи специального приспособления отожмите толкатель вниз и, воспользовавшись небольшой отверткой, либо другим подходящим инструментом, извлеките регулировочную шайбу.

Извлечение регулировочной шайбы.
1 - Регулировочная шайба
2 - Толкатели
3 - Впускной
4 - Выпускной
4. Произведя необходимые расчеты, подберите новую регулировочную шайбу требуемой толщины, посадите ее в толкатель и повторите проверку.
При расчете требуемой толщины новой регулировочной шайбы следует воспользоваться следующей формулой:
Н1 = Н0 (dM - dS)
Где:
Н1 — Расчетная толщина требуемой шайбы
Н0 — Толщина снятой шайбы
dM — Величина измеренного зазора
dS — Номинальная величина зазора
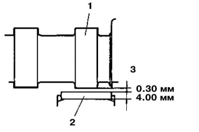
Например:
Пусть: Н0 = 4.00 мм, dM = 0.30 мм,
dS = 0.25 мм,
Пример сбора исходной информации при расчете требуемой толщины новой регулировочной шайбы
1 - Кулачок привода впускного клапана
2 - Регулировочная шайба
3 - Клапанный зазор
Тогда: Н1 = 4.00 (0.30 – 0.25) = 4.05 (мм)
В продажу поступают регулировочные шайбы трех размерных диапазонов: 3.400÷3.650 мм и 4.350÷4.600 мм с шагом 0.050 мм и 3.700÷4.300 мм с шагом 0.025 мм (всего 37 вариантов). Толщина шайбы может быть определена по выбитому на ней кодовому номеру: так, шайба с номером 3825 имеет толщину 3.825 мм.
