Примечание. Отдельные характеристики приведены также в тексте главы и в случае обязательности их выполнения выделены жирным шрифтом.
Система зажигания бензинового двигателя
| Тип | Электронная система прямого зажигания (DIS) с холостой искрой, функционирующая под управлением ECM, ориентирующегося на показания датчиков положений коленчатого (CKP) и распределительного (CMP) валов |
| Установка угла опережения зажигания | 4° + 2° перед ВМТ (под управлением ECM, регулировке не подлежит) |
| Порядок зажигания | 1-3-4-2 |
| Катушки зажигания | |
| Два сдвоенных катушечных модуля (по одному на два цилиндра) |
| 12.0 |
| 0.45÷0.55 |
| 13÷15 |
| ВВ провода | |
| 16 |
| Свечи зажигания | |
| |
| BKR6E-11 |
| FR7DCX |
| RC7YC4 |
| 14FR-7DUX |
| APP3923 |
| Межэлектродный зазор (все производители), мм | 1.1 |
Система облегчения холодного запуска дизельного двигателя
| Продолжительность фаз преднакала и постнакала | См. Раздел Система облегчения холодного запуска дизельного двигателя |
| Защитное отключение реле свечей накаливания | См. Раздел Система облегчения холодного запуска дизельного двигателя |
| Сопротивление реле свечей накаливания (см. Раздел Проверка реле свечей накаливания), Ом | 13 |
Система заряда
| Аккумуляторная батарея | |
| |
| 1.280 |
| 0.04 |
| 12 |
| |
| 60 |
| 68 |
| Генератор | |
| Переменного тока |
| |
| 12.-70 |
| 12-60 |
| Транзисторный, встроен в катушечный модуль |
| |
| Сведения отсутствуют |
| 5000 |
| |
| Сведения отсутствуют |
| 1000÷11000 |
| |
| Сведения отсутствуют |
| 12 |
| Вакуумный насос (дизельные модели) | |
| |
| Не менее 440 |
| Не менее 580 |
| 13.0÷13.5 |
| 57.0÷57.1 |
Система запуска
| Тип привода коленчатого вала | |
| |
| Безредукторный |
| Редукторный |
| Безредукторный |
| Максимальная сила тока при проворачивании двигателя, А | |
| 130÷158 |
| Сведения отсутствуют |
| Стартер | |
| |
| |
| 0.9 |
| 1.2 |
| 2.0 |
| |
| |
| 17 |
| 18 |
| |
| 11.5 |
| 11 |
| Развиваемое щеточной пружиной усилие (все модели), Н | 8.8 |
| Величина биения якорной сборки (все модели) | |
| 0.05 |
| 0.4 |
| Проточка коллектора (все модели) | |
| 31 |
| Глубина насечки, мм | |
| 0.02÷0.03 |
| 0.2 |
Рабочий зазор шестерни (бензиновые модели), мм | 0.5 |
| Осевой люфт шестерни (дизельные модели) | |
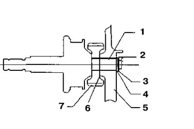
Рабочий зазор шестерни стартера (бензиновые модели)
1 - Вал шестерни 2 - Осевой люфт 3 - Стопорное кольцо 4 - Шайба 5 - Кронштейн шайбы 6 - Регулировочная шайба 7 - Редукционная шестерня
Усилия затягивания резьбовых соединений, Нм
Примечание. Усилия затягивания отдельных элементов крепежа могут быть приведены непосредственно в тексте разделов, где они выделены жирным шрифтом.
Бензиновые модели
| Болты крепления катушечных сборок | 19÷25 |
| Свечи зажигания | 25÷30 |
| Болты крепления стартера и его опорного кронштейна | 37÷54 |
| Гайка клеммы В стартера | 16÷23 |
| Болты крепления впускного трубопровода | 37÷54 |
| Осевой и крепежный болты генератора | 38÷51 |
| Винты подшипникового кожуха генератора | 2.0÷5.4 |
| Болты крышки генератора | 2.0÷5.4 |
| Гайка крепления шкива привода генератора | 59÷98 |
| Винты крепления диодной сборки выпрямителя | 2.0÷5.4 |
| Болт опоры натяжителя | 19÷26 |
Дизельные модели
| Свечи накаливания | 14.7÷19.6 |
| Болты крепления стартера и его опорного кронштейна | 37÷54 |
| Гайка клеммы В стартера | 16÷23 |
| Болты крепления генератора (см. иллюстрацию) | |
| 19÷26 |
| 38÷51 |
