Общая информация
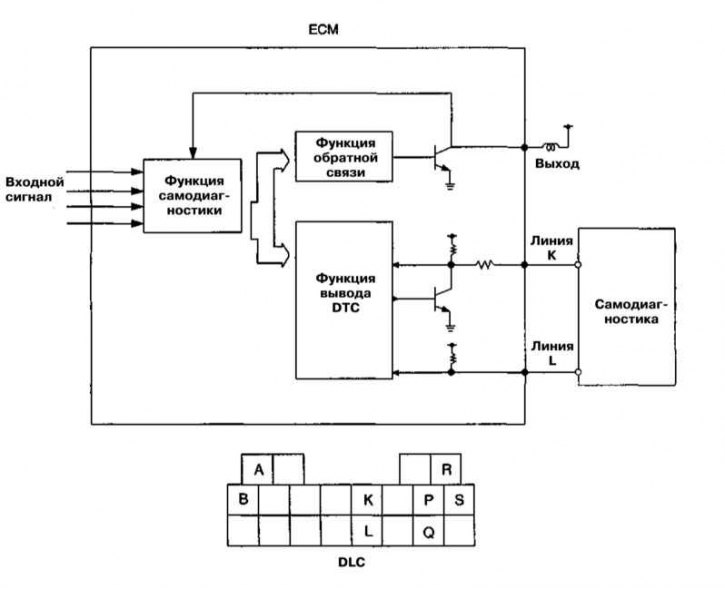
При регистрации отказа входных элементов или исполнительных устройств системы управления дизельного двигателя ECM с целью минимизации эффекта ошибки производит подключение активацию функции обратной связи, одновременно занося двузначный код неисправности в память процессора.
Принцип функционирования системы самодиагностики дизельного двигателя
А - Очистка памяти процессора; В - Батарея; К - Коммуникационная клемма; L - Коммуникационная клемма; Р - Клемма вывода кодов; Q - Клемма диагностики двигателя; R - Клемма заземления; S - Клемма заземления
Считывание кодов и очистка памяти процессора
Считывание кодов неисправностей и очистка памяти процессора могут быть произведены при помощи специального сканера, подключаемого к закрепленному на корпусе воздухоочистителя диагностическому разъему.
Альтернативно коды могут быть высвечены контрольной лампой MIL (Проверьте двигатель) после заземления клеммы Q диагностического разъема. Для очистки памяти процессора заземлите клемму А, либо на 20÷30 секунд отсоедините отрицательный провод от батареи.
