Примечание. Более подробную информацию по конструкции, принципам функционирования и обслуживанию конструкции AW можно найти в Руководстве 179 («Автоматические трансмиссии современных легковых автомобилей») издательства АРУС.
Конструкция типичной АТ (1 из 2)
1 - Гидротрансформатор; 2 - Входной вал O/D; 3 - Масляный насос; 4 - Дисковый тормоз O/D; 5 - Фрикцион O/D; 6 - Входной вал фрикциона передних передач; 7 - Фрикцион передних передач; 8 - Фрикцион прямого восприятия; 9 - Обгонная муфта O/D; 10 - Дисковый тормоз режима «2»; 11 - Дисковый тормоз передач от 2-й и выше; 12 - Дисковый тормоз режимов «L» и «R»; 13 - Передний ряд задней планетарной сборки; 14 - Задний ряд задней планетарной сборки; 15 - Передняя планетарная сборка (O/D); 16 - Обгонная муфта №1; 17 - Обгонная муфта №2
Конструкция типичной АТ (2 из 2)
1 - Обгонная муфта O/D; 2 - Фрикцион O/D; 3 - Сателлит передней планетарной сборки; 4 - Дисковый тормоз O/D; 5 - Фрикцион передних передач; 6 - Фрикцион прямого восприятия; 7 - Дисковый тормоз режима «2»; 8 - Обгонная муфта №1; 9 - Дисковый тормоз передач от 2-й и выше; 10 - Дисковый тормоз режимов «L» и «R»; 11 - Обгонная муфта №2; 12 - Орбитальная шестерня переднего ряда задней планетарной сборки; 13 - Орбитальная шестерня заднего ряда задней планетарной сборки; 14 - Выходной вал; 15 - Сателлит заднего ряда задней планетарной сборки; 16 - Солнечная шестерня задней планетарной сборки; 17 - Сателлит переднего ряда задней планетарной сборки; 18 - Промежуточный вал; 19 - Входной вал фрикциона передних передач; 20 - Солнечная шестерня O/D; 21 - Входной (первичный) вал O/D
Для комплектации рассматриваемых в настоящем Руководстве автомобилей могут использоваться 4-ступенчатые (включая повышающую передачу) автоматические трансмиссии (АТ) серии 03-72LE производства компании Aisin Warner (AW372LE).
Играя роль обыкновенного сцепления в момент трогания автомобиля с места, в ходе движения АТ выполняет работу по переключению передач.
Основными компонентами АТ являются блокирующийся гидротрансформатор (преобразователь вращения), трехрядный ступенчатый планетарный редуктор и электронно-гидравлическая система управления. Для переключения передач без разрыва потока мощности в планетарном редукторе применяются гидроприводные многодисковые тормоза (4 шт.), обгонные муфты (3 шт.) и многодисковые фрикционы (3 шт.).
Управление переключением всех передач, а также блокировкой гидротрансформатора осуществляет специальный электронный модуль (TCM), работающий в тесной связи с модулем управления двигателем (ECM) и непрерывно обменивающийся информацией с последним.
Возможность блокировки гидротрансформатора при движении в крейсерском режиме со скорость, превышающей некоторое пороговое значение позволяет существенно повысить экономичность расхода топлива за счет снижения рабочих оборотов двигателя.
В радиатор системы охлаждения двигателя встроен жидкостный охладитель ATF, еще один, внешний воздушный охладитель устанавливается непосредственно перед радиатором системы охлаждения.
TCM контролирует функционирование всех исполнительных механизмов АТ (клапанная сборка, сцепления, тормозные сборки) с учетом выбора одного из трех задаваемых режимов трансмиссии: ECONO (нормальный режим), POWER или HOLD, - см. Главу Органы управления и приемы эксплуатации). На основании анализа данных, поступающих от различных информационных датчиков (не обязательно имеющих непосредственное отношение к функционированию собственно трансмиссии), TCM выбирает оптимальный с точки зрения экономичности, плавности переключений и пр. режим функционирования АТ. Составной частью системы управления АТ является подсистема самодиагностики, - при выявлении серьезной неисправности модуль управления переключает трансмиссию в специальный аварийный (безопасный) режим с ограниченным диапазоном переключений. Переключение в аварийный режим позволяет отогнать автомобиль своим ходом на станцию техобслуживания для выполнения подробной диагностики и необходимого восстановительного ремонта. На основании данных, поступающих от традиционно устанавливаемого под педалью газа датчика-выключателя активации режима kickdown, TCM осуществляет переключение трансмиссии на смежную использующейся в текущий момент передачу при полном выжимании педали, что позволяет существенно повысить динамические характеристики автомобиля, например во время совершения обгона. Благодаря применению специального датчика-выключателя N/Р запуск двигателя может быть осуществлен только когда рычаг селектора АТ находится в положении «Р» или «N», что позволяет предотвратить случайное трогание автомобиля при попытке запуска.
Единственной процедурой обслуживания АТ, выполнение которой должно производиться на регулярной основе, является проверка уровня рабочей жидкости (ATF), порядок выполнения которой изложен в Главе Текущий уход и обслуживание. Необходимость в регулярной замене ATF отсутствует.
В настоящей главе рассмотрены лишь наиболее общие процедуры обслуживания АТ, лежащие в пределах квалификации среднестатистического механика-любителя. Ниже приведена информация по конструкции и принципам функционирования отдельных исполнительных элементов АТ.
Клапанная сборка
Клапанная сборка помещается в поддоне картера трансмиссии и под контролем TCM осуществляет управление потоками ATF в коробке. Входящие в состав сборки контролирующие давление жидкости клапаны соединены между собой внутренними каналами. Очистка забираемой из поддона картера трансмиссионной жидкости (ATF) обеспечивается сетчатым фильтром, вмонтированным в маслозаборник насосной сборки.
Конструкция клапанной сборки АТ
1 - Клапан активации режима kickdown; 2 - Клапан переключения 3-4; 3 - Вторичный клапан-регулятор; 4 - Демпферный клапан передачи заднего хода; 5 - Клапан переключения 2-3; 6 - Клапан переключения 1-2; 7 - Редукционный клапан; 8 - Дроссельный клапан; 9 - Запорный клапан ограничения дроссельного давления; 10 - Клапан ручного переключения; 11 - Электромагнитный клапан-переключатель А; 12 - Электромагнитный клапан блокировочной муфты гидротрансформатора; 13 - Клапан-модулятор режима «L»; 14 - Электромагнитный клапан-переключатель В; 15 - Первичный клапан-регулятор; 16 - Управляющий клапан гидротрансформатора; 17 - Промежуточный клапан-модулятор
Гидроаккумуляторы
Главной функцией аккумулятора является обеспечение безударности переключений трансмиссии в сторону повышения передачи за счет сглаживания срабатывания фрикционов. В рассматриваемой трансмиссии используются три близких по конструкции аккумулятора: фрикционов передних передач и прямого восприятия и дискового тормоза передач от 2-й и выше.
Аккумулятор состоит из клапана и пружины. К подпружиненной стороне клапана постоянно приложено магистральное давление, чье действие плюсуется к развиваемому пружиной усилию и прижимает клапан, когда сборка находится в неактивном состоянии.
Конструкция аккумулятора
1 - Рабочая сторона; 2 - К внутреннему поршню подконтрольного компонента; 3 - Магистральное давление (от клапана ручного переключения); 4 - Сторона противодавления; 5 - Магистральное давление
При подаче управляющего давления на соответствующий исполнительный механизм (фрикцион или многодисковый тормоз) то же давление (от клапана ручного переключения) прикладывается к рабочей стороне клапана соответствующего аккумулятора. Под воздействием данного давления клапан начинает отжиматься вниз, преодолевая противодавление и усилие, развиваемое пружиной. На заполнение рабочего объема аккумулятору требуется некоторое время, к моменту завершения которого исполнительный механизм оказывается полностью включенным, - данная задержка и обеспечивает плавность срабатывания подконтрольного фрикциона/тормоза и, соответственно, безударность переключения АТ.
Блокировка гидротрансформатора
Блокирующая муфта обеспечивает возможность передачи крутящего момента от коленчатого вала двигателя непосредственно входному валу O/D трансмиссии.
Срабатывание блокировки происходит лишь в крейсерском режиме при движении со скоростью свыше 69 км/ч (43 мили/ч) и при температуре охлаждающей жидкости не менее 50°C. При замедлении скорости движения ниже порога включения повышающей (O/D) передачи (69 км/ч), равно как и при снижении температуры охлаждающей жидкости ниже 50°C, блокирующая муфта автоматически отключается.
Включение блокировки
При выдаче модулем управления (TCM) соответствующей команды во время движения автомобиля на 2-й, 3-й или 4-й (O/D) передаче срабатывание электромагнитного клапана блокирующей муфты приводит к открыванию дренажных каналов и, как следствие, сбросу магистрального давления с пружинной стороны управляющего золотникового клапана гидротрансформатора. Под воздействием магистрального давления (от клапана переключения 1-2), подводимого с противоположной стороны золотника, происходит его переключение с подачей находящейся под давлением гидротрансформатора трансмиссионной жидкости через турбину на заднюю сторону блокирующей муфты, - вытесняемая с противоположной стороны муфты ATF через управляющий клапан выводится в поддон картера (поток трансмиссионной жидкости, прогоняемой через охладитель ATF, при включенной блокировке гидротрансформатора сокращается). В результате блокирующая муфта прижимается к передней крышке, механически с нею блокируясь. Так как муфта имеет шлицевую посадку на турбине, с этого момента передняя крышка, муфта и турбина начинают вращаться как единое целое, обеспечивая передачу крутящего момента с коленчатого вала двигателя непосредственно на входной вал O/D трансмиссии.
Примечание. Оснащение муфты демпферными пружинами позволяет снизить уровень шумов и вибраций, производимых трансмиссионной линией.
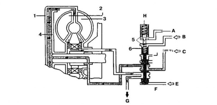
Принцип включения блокировки гидротрансформатора
А - Сброс; В - Магистральное давление; С - Давление гидротрансформатора; D - Сброс; Е - Магистральное давление (от клапана переключения 1-2); F - Управляющий клапан гидротрансформатора; G - К охладителю ATF; Н - Э/м клапан блокирующей муфты (Вкл); 1 - Передняя крышка; 2 - Турбина; 3 - Насос; 4 - Блокирующая муфта; 5 - Пружины; 6 - Крышка; 7 - Рабочий элемент золотника № 3; 8 - Рабочий элемент золотника № 2
Отключение блокировки
При выдаче модулем управления (TCM) команды на отключение блокировки происходит закрывание электромагнитного клапана под воздействием развиваемого его пружиной усилия. В результате перекрывания дренажных каналов и выравнивания давления с обеих сторон управляющего клапана гидротрансформатора, последний под воздействием развиваемого пружиной усилия переключается, обеспечивая подачу находящейся под давлением гидротрансформатора ATF на переднюю сторону блокирующей муфты. В результате блокирующая муфта отжимается от передней крышки, выводя последнюю из зацепления с блоком муфта-турбина, - избыток объема жидкости, находящейся под давлением гидротрансформатора, выводится через управляющий клапан в охладитель ATF и далее в поддон картера.
Принцип отключения блокировки гидротрансформатора
А - Сброс; В - Магистральное давление; С - Давление гидротрансформатора; D - Сброс; Е - Магистральное давление (от клапана переключения 1-2); F - Управляющий клапан гидротрансформатора; G - К охладителю ATF; Н - Э/м клапан блокирующей муфты (Вкл); 1 - Передняя крышка; 2 - Турбина; 3 - Насос; 4 - Блокирующая муфта; 5 - Пружины; 6 - Крышка
Охладитель ATF
При выключенной блокировке гидротрансформатора трансмиссия генерирует большое количество тепла, основная часть которого аккумулируется трансмиссионной жидкостью.
Для отбора тепла от ATF организован специальный двухступенчатый охладительный тракт. Первая ступень охлаждения организована посредством прокладки трубок трансмиссионного контура в нижнем бачке радиатора системы охлаждения. После отдачи части тепла охлаждающей жидкости двигателя в радиаторе системы охлаждения, ATF направляется в маслоохладитель. Теплообменник охладителя ATF установлен впереди радиатора системы охлаждения и продувается набегающим потоком воздуха, который отбирает у ATF оставшееся избыточное тепло. Давление ATF поддерживается на постоянном уровне в 1.9 атм за счет включения в охладительный тракт трансмиссии специального перепускного клапана.
Главным источником тепловыделения в АТ является гидротрансформатор. Так как при включении блокировки гидротрансформатора турбулентность потока ATF внутри него снижается, в значительной мере сокращается также мощность тепловыделения трансмиссии. С учетом данного фактора, в конструкцию АТ заложена функция сокращения потока трансмиссионной жидкости через охладитель ATF на время включения блокирующей муфты. Если возникает перегрев, TCM вырабатывает специальную команду на отключение блокировки гидротрансформатора с целью восстановления интенсивности циркуляции ATF через теплообменник охладителя.
Назначение отдельных исполнительных элементов АТ
Карта срабатывания исполнительных устройств АТ
Карта представлена в таблице.
| Устройство | Э/м кл. А | Э/м кл. В | Фрикцион O/D | Фрикцион передних передач | |
| Р | • | — | • | — | |
| R | • | — | • | — | |
| N | • | — | • | — | |
| D | 1-я передача | • | — | • | • |
| 2-я передача | • | • | • | • | |
| 3-я передача | — | • | • | • | |
| O/D | — | — | — | • | |
| 2 | 1-я передача | • | — | • | • |
| 2-я передача | • | • | • | • | |
| L | 1-я передача | • | — | • | • |
| Устройство | Фрикцион прямого восприятия | Тормоз O/D | Тормоз режима "2" | Тормоз передач от 2-й и выше | |
| Р | — | — | — | — | |
| R | • | — | — | — | |
| N | — | — | — | — | |
| D | 1-я передача | — | — | — | — |
| 2-я передача | — | — | — | • | |
| 3-я передача | • | — | — | • | |
| O/D | • | • | — | • | |
| 2 | 1-я передача | — | — | — | — |
| 2-я передача | — | — | • | • | |
| L | 1-я передача | — | — | — | — |
| Устройство | Тормоз режимов "L" и "R" | Обг. муфта O/D | Обг. муфта №1 | Обг. муфта №2 | ||
| Внутр. поршень | Нар. поршень | |||||
| Р | — | — | • | — | — | |
| R | • | • | • | — | — | |
| N | — | — | • | — | — | |
| D | 1-я передача | — | — | • | — | • |
| 2-я передача | — | — | • | • | — | |
| 3-я передача | — | — | • | — | — | |
| O/D | — | — | • | — | — | |
| 2 | 1-я передача | — | — | • | — | • |
| 2-я передача | — | — | • | — | — | |
| L | 1-я передача | • | • | • | — | — |
Фрикционы
Фрикционы состоят из помещенного в корпус набора кольцевых пластин и фрикционных дисков и исполнительного поршня(ей).

Пластины изготовлены из стали, имеют гладкие поверхности и оснащены равномерно размещенными по наружному краю шлицами; фрикционные диски представляют собой тонкие металлические кольца с наклеенными с обеих сторон фрикционными накладками и неравномерно ошлицованным внутреннем краем. Пластины и диски размещаются в корпусе фрикциона через один.
При отпущенном поршне фрикционные диски вращаются в корпусе сборки свободно, а зазоры между ними и кольцевыми пластинами заполнены трансмиссионной жидкостью. При подаче на поршень давления пластины плотно прижимаются к дискам, образуя монолитный блок. ATF вытесняется из зазоров и под действием центробежной силы через специально предусмотренные в корпусе фрикциона каналы отводится в поддон картера АТ. Отпускание поршня при снятии давления происходит под действием возвратных пружин.
1 - Кольцевая пластина
2 - Фрикционный диск
3 - Возвратная пружина
4 - Поршень
5 - Корпус
Фрикцион повышающей передачи (O/D)
Обеспечивает блокировку солнечной шестерни с держателем сателлитов (водилом) передней планетарной сборки.
Фрикцион задействован во всех режимах АТ на всех передачах, кроме повышающей и, за счет блокировки планетарной сборки, обеспечивает передачу крутящего момента от входного вала O/D внутрь трансмиссионной сборки. Специальный, вмонтированный в исполнительный поршень фрикциона, контрольный шарик обеспечивает удержание давления во включенном состоянии и сброс его при отключении. Тонкое стопорное кольцо используется для фиксации всех кроме одного дисков фрикциона, вторым стопорным кольцом фиксируется ступица дискового тормоза O/D.
Фрикцион передних передач
Обеспечивает сочленение своего входного вала с промежуточным валом трансмиссии.
Фрикцион задействован во всех режимах АТ на всех передачах переднего хода и, через свою ступицу, обеспечивает передачу крутящего момента промежуточному валу, сочлененному с водилом задней планетарной сборки. Специальный, вмонтированный в исполнительный поршень фрикциона, контрольный шарик обеспечивает удержание давления во включенном состоянии и сброс его при отключении. Тонкое стопорное кольцо используется для фиксации всех кроме одного дисков фрикциона, вторым стопорным кольцом фиксируется ступица фрикциона прямого восприятия, вращающаяся таким образом вместе с корпусом фрикциона передних передач.
Фрикцион прямого восприятия
Обеспечивает сочленение входного вала фрикциона передних передач с солнечной шестерней.
Фрикцион задействован на задней передаче, а также на 3-й и 4-й передачах в режимах «R» и «D» соответственно и обеспечивает передачу крутящего момента от своей ступицы к солнечной шестерне задней планетарной сборки. Ступица фрикциона прямого восприятия вращается вместе с корпусом фрикциона передних передач, таким образом, при одновременной активации обоих фрикционов обеспечивается непосредственная (прямая) передача крутящего момента. Когда же задействован лишь фрикцион прямого восприятия, корпус фрикциона передних передач продолжает вращаться, не передавая при этом крутящий момент промежуточному валу. Специальный, вмонтированный в исполнительный поршень фрикциона, контрольный шарик обеспечивает удержание давления во включенном состоянии и сброс его при отключении.
Дисковые тормозные сборки
Конструкция многодисковых тормозных сборок аналогична конструкции фрикционов.
Дисковый тормоз повышающей передачи (O/D)
Блокирует вращение солнечной шестерни передней планетарной сборки.
Диски тормоза (имеют внутреннее зацепление) посажены на шлицы ступицы, пластины (имеют наружное зацепление) сочленены шлицами с приболченным к картеру АТ корпусом тормозной сборки. Ступица тормоза соединена непосредственно с солнечной шестерней передней планетарной сборки и при включении 4-й передачи в режиме «D» трансмиссии блокируется с корпусом тормозной сборки. Специальный, вмонтированный в исполнительный поршень тормозной сборки, контрольный шарик обеспечивает удержание давления во включенном состоянии и сброс его при отключении. Одно стопорное кольцо используется для фиксации пружинного держателя, вторым стопорным кольцом фиксируются рабочие диски и пластины.
Дисковый тормоз режима «2»
Блокирует вращение солнечной шестерни задней планетарной сборки.
Тормоз используется для обеспечения торможения двигателем при переводе трансмиссии в режим «2». Диски тормоза посажены на шлицы корпуса фрикциона прямого восприятия, пластины сочленены шлицами с корпусом центральной опоры, в свою очередь приболченным к картеру трансмиссии. При активации тормоза блокируется ступица фрикциона прямого восприятия, имеющая шлицевую посадку на солнечной шестерне задней планетарной сборки. Специальный, вмонтированный в исполнительный поршень тормозной сборки, контрольный шарик обеспечивает удержание давления во включенном состоянии и сброс его при отключении.
Дисковый тормоз передач от 2-й и выше
Блокирует наружную обойму обгонной муфты № 1, предотвращая тем самым вращение солнечной шестерни против часовой стрелки.
Диски тормоза посажены на шлицы ступицы, пластины сочленены шлицами с корпусом центральной опоры, в свою очередь приболченным к картеру трансмиссии. Тормоз задействован в режимах «D» и «2» трансмиссии при движении на 2-й, 3-й и 4-й (O/D) передачах и его ступица одновременно является наружной обоймой для обгонной муфты № 1. Специальный, вмонтированный в исполнительный поршень тормозной сборки, контрольный шарик обеспечивает удержание давления во включенном состоянии и сброс его при отключении.
Дисковый тормоз режимов «L» и «R»
Блокирует держатель сателлитов (водило) переднего ряда задней планетарной сборки.
Тормозная сборка имеет двухпоршневую конструкцию и помещается в задней части картера АТ. Диски тормоза посажены на шлицы корпуса держателя сателлитов (водила) переднего планетарного ряда, пластины сочленены шлицами с картером трансмиссии. В режимах «L» и «R» АТ тормоз обеспечивает блокировку водила переднего планетарного ряда, причем в обоих случаях используются оба поршня. Специальные, вмонтированные в исполнительные поршни тормозной сборки, контрольные шарики обеспечивают удержание давления во включенном состоянии и сброс его при отключении.
Обгонные муфты
Обгонная муфта O/D
Служит для сочленения солнечной шестерни с водилом в передней (O/D) планетарной сборке и предотвращения их вращения против часовой стрелки.
Наружная обойма муфты является частью водила, внутренняя - частью солнечной шестерни передней планетарной сборки.
Когда солнечная шестерня воспринимает крутящий момент от задействованного фрикциона O/D, муфта обеспечивает зацепление компонентов с передачей вращения от турбины гидротрансформатора непосредственно к входному валу фрикциона передних передач.
При включении 4-й передачи фрикцион O/D выключается и активируется дисковый тормоз повышающей передачи. При этом корпус фрикциона и солнечная шестерня передней (O/D) планетарной сборки блокируются, и крутящий момент двигателя начинает передаваться вращающемуся вокруг солнечной шестерни по часовой стрелке водилу, при этом замки обгонной муфты расцепляются, обеспечивая свободу хода водила.
Обгонная муфта № 1
Служит для предотвращения вращения солнечной шестерни планетарного ряда против часовой стрелки во время срабатывания дискового тормоза 2-й и выше передач при движении в режиме «D» АТ.
Наружная обойма муфты является частью ступицы тормозной сборки 2-й и выше передач, внутренняя - частью солнечной шестерни планетарного ряда.
При отключенном тормозе солнечная шестерня вращается против часовой стрелки, как на 1-й и задней передачах и замки муфты расцеплены.
Активация дискового тормоза 2-й и выше передач приводит к удержанию наружной обоймы муфты (ступицы тормоза), вращение же солнечной шестерни против часовой стрелки приостанавливается ввиду блокировки ее с тормозной ступицей за счет срабатывания замков обгонной муфты.
Обгонная муфта № 2
Блокирует вращение против часовой стрелки держателя сателлитов (водила) переднего ряда задней планетарной сборки.
Муфта задействуется только на первой передаче в режимах «D» и «2» АТ, преимущественно при необходимости быстрого ускорения.
Наружная обойма муфты является частью водила переднего ряда задней планетарной сборки, внутренняя - частью опорной (реактивной) пластины дискового тормоза режимов «L» и «R».
При начале движения фрикцион передних передач обеспечивает привод орбитальной шестерни заднего ряда планетарной сборки, что заставляет солнечную шестерню вращаться против часовой стрелки. Восприятие же данного вращения водилом переднего планетарного ряда блокируется замками обгонной муфты. В результате, крутящий момент передается на выходной вал трансмиссии лишь посредством орбитальной шестерни переднего ряда.
При движении на любой другой передаче переднего хода солнечная шестерня вращается против часовой стрелки и замки обгонной муфты остаются расцепленными. При резком ускорении водило переднего ряда вращается по часовой стрелке, воспринимая крутящий момент от выходного вала, также обеспечивая расцепление замков муфты. При этом устраняется фактор торможения двигателем.
При движении в режиме «L» тормоз режимов «L» и «R» блокирует вращение водила переднего планетарного ряда, и даже зацепление обгонной муфты № 2 не приводит к включению торможения двигателем.
Планетарный редуктор
Примечание. В случае необходимости обращайтесь к материалам изложенным в предыдущих подразделах.
Передняя планетарная сборка (O/D)
Однорядная планетарная сборка O/D состоит из солнечной шестерни, комплекта закрепленных в держателе (водило) сателлитов и орбитальной шестерни.
Входной вал O/D постоянно вращается по часовой стрелке, воспринимая крутящий момент от турбины гидротрансформатора, сочлененной с водилом планетарной сборки. Привод солнечной шестерни осуществляется фрикционом O/D, задействованным во всех режимах и на всех передачах, кроме повышающей.
От входного вала вращение передается сателлитам планетарной сборки, заставляя их вращаться против часовой стрелки. Фрикционы O/D и передних передач подключены к ведущим колесам автомобиля. Наружная обойма обгонной муфты O/D вращается по часовой стрелке, воспринимая крутящий момент от водила планетарной сборки повышающей передачи. Сопротивление солнечной шестерни и усилие, развиваемое водилом, приводит к блокировке замков обгонной муфты и, как следствие, сочленению данных компонентов друг с другом, в результате образуется монолитный блок «солнечная шестерня - водило - входной вал». При вращении солнечной шестерни с входным валом сателлиты блокируются в орбитальной шестерне, что приводит к передаче крутящего момента входной шестерне фрикциона передних передач.
При необходимости включения повышающей передачи фрикцион O/D отпускается и задействуется дисковый тормоз повышающей передачи, блокирующий солнечную шестерню, вокруг которой начинает вращаться водило, раскручиваемое входным валом O/D. Сателлиты вынуждены обегать солнечную шестерню, заставляя орбитальную шестерню вращаться с большей, чем собственная (сателлитов) угловой скоростью. В результате срабатывания описанной схемы формируется передаточное отношение повышающей передачи (0.730 : 1).
Задняя планетарная сборка
В рассматриваемой АТ (AW372LE) используется задняя планетарная сборка конструкции Simpson, состоящая из двух планетарных рядов (сателлиты в водиле и орбитальная шестерня), посаженных на общую солнечную шестерню.
Солнечная шестерня посажена на шлицы ступицы фрикциона прямого восприятия. Водило переднего планетарного ряда посредством шлицов же сочленено с тормозной сборкой режимов «L» и «R» и обгонной муфтой № 1. Орбитальная шестерня заднего планетарного ряда приводится во вращение фрикционом передних передач. Заднее водило и орбитальная шестерня переднего ряда, имеют шлицевую посадку на выходном валу.
Требуемое передаточное отношение достигается за счет комбинации блокировок компонентов редуктора.
Механизм парковочной блокировки
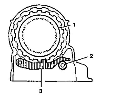
Наружная поверхность орбитальной шестерни переднего планетарного ряда имеет зубчатую структуру, - при переводе рычага селектора в положение «Р» специальный оборудованный кулачком шток обеспечивает разворачивание блокировочного рычага с вводом его рабочего выступа в зацепление с зубьями на наружной поверхности шестерни, что приводит к блокировке выходного вала трансмиссии. В любом другом положении рычага селектора выходной вал остается свободным.
1 - Орбитальная шестерня переднего ряда задней планетарной сборки
2 - Кулачок
3 - Блокировочный рычаг
Насосная станция
Гидравлическое давление, используемое при управлении функционированием АТ нагнетается в систему специальной насосной станцией. Хотя ротор преобразователя вращения также можно рассматривать как своего рода насос, генерируемые им поток гидравлической жидкости потребляется исключительно собственно гидротрансформатором, никак не принимая участие в функционировании прочих компонентов трансмиссии. Жидкость поступает на вход преобразователя и выпускается из него не за счет функционирования собственного насоса (ротора), а будучи нагнетаемой специальным масляным насосом.
С выхода масляного насоса ATF поступает в специальный регулятор, отвечающий за поддержание рабочего давления в тракте на постоянном уровне. Контроль функционирования трансмиссии осуществляется посредством различных гидравлических линий. На картере АТ предусмотрено несколько вентилей, позволяющих производить замеры давления в линиях с целью проверки исправности функционирования трансмиссии в различных условиях. При этом не следует забывать, что давление во всех этих контрольных линиях нагнетается исключительно насосной станцией АТ.
На рассматриваемых моделях используется объемный масляный насос шестеренчатого типа, привод которого осуществляется непосредственно от ступицы преобразователя вращения, на шлицы которой посажена ведущая шестерня насосной сборки.
1 - Сальник; 2 - Корпус; 3 - Уплотнительное кольцо; 4 - Ведомая шестерня; 5 - Ведущая шестерня; 6 - Опора статора; 7 - Обойма № 1 упорного подшипника; 8 - Кольца; 9 - Обойма № 2 упорного подшипника; 10 - Обойма № 3 упорного подшипника
