Конструкция и детали установки рычага селектора АТ
1 - Рукоятка; 2 - Кожух; 3 - Индикаторная панель; 4 - Шпиндельный болт; 5 - Направляющая пластина; 6 - Рычаг
1. Отсоедините отрицательный провод от батареи.
2. Снимите заднюю и переднюю секции консольного вещевого ящика (см. Главу Кузов).

3. Переведите рычаг селектора АТ в положение «Р», затем отпустите крепежные гайки.

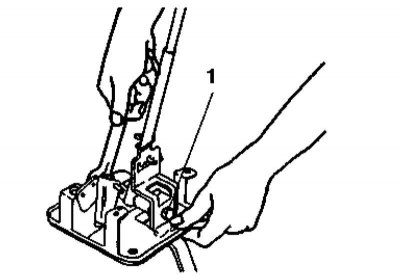
4. Извлеките шплинт и отделите от рычага (1) селекторный шток (2).
5. Отсоедините электропроводку индикатора положений и выключателя режима HOLD.
6. Выверните крепежный винт и снимите с рычага рукоятку и кожух.
1 - Рукоятка
2 - Кожух

7. Снимите индикаторную панель (1).

8. Отпустите крепежную гайку, извлеките шпиндельный болт (1) и отделите рычаг от направляющей пластины.

9. Смажьте указанные элементы направляющей пластины.

10. Смажьте распорную втулку, заправьте рычаг на свое штатное место в направляющую пластину и зафиксируйте его шпиндельным болтом, затянув гайку последнего с требуемым усилием (11.7÷16.7 Нм).
11. Дальнейшая установка производится в порядке, обратном порядку демонтажа компонентов, - усилие затягивания винта крепления рукоятки рычага составляет 2.0÷3.0 Нм, гаек направляющей пластины рычажной сборки, - 17.6÷26.5 Нм. Не забудьте восстановить исходное подключение электропроводки.
