
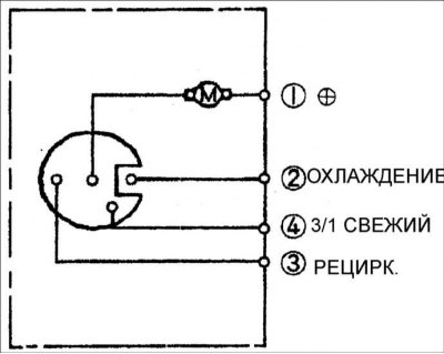
Проверка привода воздухозаборника
Привод прикреплен к воздухозаборнику рециркулируемого/ свежего воздуха блока основного вентилятора и приводит в движение створку, выбирая положение рычажного переключателя рециркулируемого/ свежего воздуха.
1. Проверьте, заработает ли электродвигатель после подачи () на контакт (1) и (–) на контакт (2). Проверьте также изменение направления его вращения на противоположное при подключении в обратном порядке.
2. При неисправности электродвигателя замените его.
