Оглавление: Не работает спидометр или его…⇣ Не работает тахометр ⇣ Не работает указатель температуры…⇣ Проверка датчика температуры…⇣ Не работает указатель уровня топлива ⇣ Проверка ⇣ Контрольная лампа тормозной системы ⇣ Датчик уровня тормозной жидкости ⇣ Контрольная лампа уровня топлива ⇣ Контрольная лампа зарядки ⇣ Контрольная лампа давления масла…⇣ Контрольная лампа ремней безопасности ⇣
1 – спидометр; 2 – счетчик пути; 3 – счетчик пути за одну поездку; 4 – указатель уровня топлива; 5 – указатель температуры охлаждающей жидкости; 6 – тахометр; 7 – аварийная сигнализация/ указатель поворота; 8 – сигнальные и индикаторные лампы; 9 – кнопка сброса счетчика пути за одну поездку.
Не работает спидометр или его показания неверны
Шаг 1
Проверьте подключение измерительного блока и разъем датчика скорости.
Шаг 2: проверьте датчик скорости
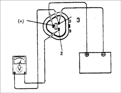
1. В моторном отсеке отсоедините разъем от датчика скорости, установленного на ведомой шестерне коробки передач.
2. Снимите датчик скорости.
3. Подключите вывод 1 датчика скорости к положительному (+) выводу батареи, а вывод 2 датчика – к отрицательному (–) выводу батареи.
4. Подключите вывод 2 датчика скорости к отрицательному (–) выводу тестера, а вывод 3 – к положительному (+) выводу.
5. Поверните вал датчика скорости.

6. Проверьте диапазон изменения напряжения между выводами 3 и 2.
Диапазон изменения напряжения: 0–12 В
Внимание! Напряжение должно меняться 4 раза за оборот вала датчика скорости. Если это не так, замените датчик скорости.
Шаг 3: проверьте спидометр
1. Отключите измерительный блок.

2. Проверьте проводимость между выводами "ВО" (оранжево–синий) и "AS" (черный) спидометра, одновременно вращая вал датчика. Если за один оборот вала датчика скорости не формируется 4 импульсов, замените измеритель скорости.
Не работает тахометр
1. Снимите комбинацию приборов.

2. Подключите тахометр к выводам "Af" (бело–синий) и "As" (черный) разъема комбинации приборов.
3. Пустите двигатель.
4. Проверьте, показывает ли тахометр частоту вращения вала двигателя.
| Результат | Действие |
| Да | Замените тахометр |
| Нет | Отремонтируйте проводку (на участке комбинация приборов – тахометр) |
Не работает указатель температуры охлаждающей жидкости
1. Отключите разъем от датчика охлаждающей жидкости.

2. Подключите красный провод специального инструмента к разъему, а черный провод соедините с корпусом.
3. Установите значение сопротивления специального инструмента, равное указанному для датчика температуры охлаждающей жидкости.
4. Включите зажигание и проверьте правильность показаний.
| Результат | Действие |
| Да | Замените датчик |
| Нет | См. шаг 7. |
Внимание! Для правильного определения неисправности продолжайте описанную выше проверку в течение не менее 2 мин. Допустимая погрешность равна удвоенной толщине стрелки указателя.

5. Снимите комбинацию приборов.
6. Подайте напряжение с положительного (+) полюса батареи на вывод "Вn" разъема, а вывод "AS" соедините с корпусом.

7. Подключите красный провод специального инструмента к выводу "Bd", а черный провод – к отрицательному полюсу батареи.
8. Установите сопротивление специального инструмента.
9. Проверьте правильность показаний указателя.
Проверка датчика температуры охлаждающей жидкости
1. Снимите датчик.

2. Установите датчик в сосуд с водой.
3. Измеряйте сопротивление, постепенно нагревая воду.
4. Если сопротивление отличается от указанного, замените датчик.
Сопротивление: 190–260 Ом при 50°C
Не работает указатель уровня топлива
1. Отключите разъем от датчика указателя уровня топлива.

2. Подключите красный провод специального инструмента к выводу желто–зеленого провода, а черный провод соедините с "массой".
3. Установите значение сопротивления специального инструмента.
4. Включите зажигание и проверьте правильность показаний.
| Результат | Действие |
| Да | Замените датчик |
| Нет | См. шаг 7. |
Внимание! Для правильного определения неисправности продолжайте описанную выше проверку в течение не менее 2 мин. Допустимая погрешность равна удвоенной толщине стрелки указателя.

5. Снимите комбинацию приборов.

6. Подайте напряжение 12 В на вывод "Вn" разъема, а вывод "As" соедините с корпусом.
7. Подключите красный провод специального инструмента к выводу "Вр", а черный провод – к отрицательному полюсу батареи.
8. Установите сопротивление специального инструмента.
9. Проверьте правильность показаний указателя.
| Результат | Действие |
| Правильно | Замените проводку (на участке комбинация приборов – датчик указателя уровня топлива) |
| Неправильно | Указатель уровня топлива |
Внимание! Для правильного определения неисправности продолжайте описанную выше проверку в течение не менее 2 мин. Допустимая погрешность равна удвоенной толщине стрелки указателя.
Проверка
1. Снимите узел датчика уровня топлива.
2. Отключите разъем от узла датчика уровня.

3. Измеряйте сопротивление, медленно перемещая поплавок от точки "F" до точки "Е".
Контрольная лампа тормозной системы
1. Отключите разъем от датчика уровня тормозной жидкости.
2. Соедините выводы красно–белого и черного проводов соединительным проводом.

3. Включите двигатель и убедитесь, что загорается контрольная лампа тормозной системы.
Внимание! Перед проверкой убедитесь, что стояночный тормоз полностью выключен.
4. Если лампа не загорелась, проверьте предохранитель, лампу и проводку.
Датчик уровня тормозной жидкости
1. Подключите омметр к разъему датчика уровня тормозной жидкости.
2. Проверьте проводимость в соответствии с количеством тормозной жидкости.

3. Датчик исправен, если проводимость есть, когда уровень жидкости ниже отметки "MIN", и отсутствует, когда уровень жидкости выше отметки "МАХ".
4. Если датчик не прошел эту проверку, замените его.
Контрольная лампа уровня топлива
1. Отключите разъем от датчика уровня топлива.
2. Соедините вывод красно–белого провода на разъеме с корпусом.

3. Включите двигатель и убедитесь, что контрольная лампа горит.
4. Если лампа не загорелась, проверьте предохранитель, лампу и проводку.
Контрольная лампа зарядки
1. Включите двигатель и соедините бело–черный провод с корпусом.
2. Убедитесь, что контрольная лампа горит.
3. Если лампа не загорелась, проверьте сигнальную лампу, проводку и генератор.

4. При необходимости отремонтируйте или замените.
Контрольная лампа давления масла двигателя
1. Отключите разъем от датчика давления масла двигателя.
2. Включите двигатель и соедините вывод желто–красного провода с корпусом.

3. Убедитесь, что контрольная лампа "МАСЛО" (OIL) загорелась. Если лампа не загорелась, проверьте лампу, датчик давления масла и проводку.
4. При необходимости отремонтируйте или замените.
Контрольная лампа ремней безопасности
1. Отключите разъем от выключателя на замке ремней безопасности.
2. Соедините выводы зелено–оранжевого и черного проводов соединительным проводом.

3. Включите зажигание и убедитесь, что контрольная лампа и звуковой сигнал включаются примерно на 6 с.
4. Если лампа и звуковой сигнал не включились, проверьте лампу, выключатель на замке, проводку и блок управления. При необходимости отремонтируйте или замените.
