Соединение

1. Надвиньте фланец быстросъемного соединения на трубу до четкой его фиксации (щелчка).

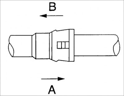
2. После соединения шлангов, потяните в разные стороны (А и В) две части быстросъемного разъема и убедитесь, что фиксация разъема выполнена надежно, при этом не нажмите держатели соединения.
Разъединение
1. Снимите давление в топливной системе.
2. Нажмите на фланец быстросъемного соединения в направлении А.

3. Сожмите оба держателя и разъедините соединение, потянув фланец в направлении В. При разъединении не прилагайте больших усилий.
